
Apple Silicon은 현재 자체 온보드 GPU 코어로만 작동하지만 PCI-E GPU와 같은 더 많은 옵션을 함께 지원하는 방법을 연구하고 있습니다.
인텔 Mac에는 있지만 Apple Silicon에는 없는 한 가지 기능은 외부 인클로저에서 Thunderbolt를 통해 GPU를 사용하거나 Mac Pro에서 내부적으로 사용할 수 있는 기능입니다. 현재로서는 Apple Silicon에는 그렇게 할 수 있는 조항이 없습니다.
대부분의 Mac 사용자에게는 문제가 되지 않을 수도 있습니다. 일부 사용자, 특히 Mac Pro 구매자에게는 큰 문제입니다.
그러나 새로 공개된 일련의 특허 출원 4건은 Apple이 적어도 이 문제를 고려하고 있다는 것을 보여줍니다.
# 애플이 다중 GPU 지원을 포기한 이유
Apple Silicon은 이전 인텔 프로세서에 비해 거의 전례가 없는 극적인 성능 및 기능 향상을 가져왔습니다.
그 중 하나는 Apple이 설계한 새로운 프로세서가 이전의 병목 현상을 줄인 것입니다.
예를 들어, 기기의 일반적인 RAM 칩과 달리 새로운 통합 메모리 시스템에서는 중앙 프로세서에 RAM이 설치되었습니다.
이는 나중에 업그레이드할 수 없다는 것을 의미하지만, CPU가 RAM을 사용할 수 있는 속도도 획기적으로 빨라졌습니다.
Apple 실리콘 프로세서에는 비슷한 이유로 그래픽 코어가 내장되어 있습니다.
그리고 타사 그래픽 코어를 지원하기 위해 Apple은 몇 가지 방법을 찾아야 했습니다.
- 물리적으로 GPU 카드 또는 외부 GPU용 커넥터를 위한 공간 포함
- 다른 GPU를 사용하는 것이 더 나은 작업 시기 결정
- 그런 다음 해당 GPU로 데이터를 루팅
- GPU에서 데이터를 다시 가져오는 방법 처리
첫 번째 사항은 향후 출시될 Mac Pro 또는 이후 모델에서 해결될 가능성이 높으며, 해당 기기는 확장이 가능해야 하기 때문입니다.
목록의 다른 모든 사항은 새로 공개된 4개의 특허 출원 중 하나 이상에서 다루고 있습니다.
# 다중 GPU 지원의 이점
Apple은 특허 출원서 "그래픽 프로세서를 위한 논리적 슬롯 대 하드웨어 슬롯 매핑"에서 "컴퓨팅 성능이 향상됨에 따라 그래픽 처리 장치(GPU)는 이제 대규모 워크로드에 광범위하게 사용되고 있습니다."라고 설명합니다.
"Metal 및 OpenCI와 같은 API는 소프트웨어 개발자가 애플리케이션을 위해 GPU의 컴퓨팅 성능에 액세스할 수 있는 인터페이스를 제공합니다."라고 설명합니다.
"최근 소프트웨어 개발자들은 애플리케이션의 상당 부분을 GPU 사용으로 전환하고 있습니다."
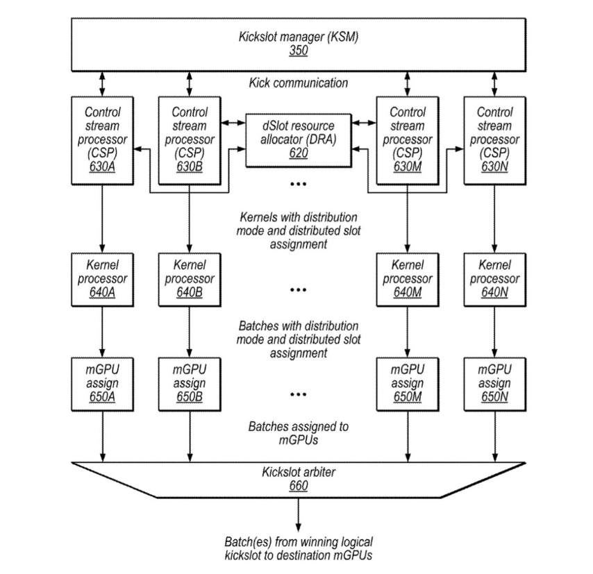
Apple은 "kick"이라는 용어를 사용하여 GPU가 수행할 수 있는 그래픽 작업의 개별적인 단위를 나타냅니다.
그런 다음 이러한 kick을 올바른 GPU로 가져오는 데 문제가 있다고 말합니다.

"데이터 마스터 회로(예: 컴퓨팅 데이터 마스터, 버텍스 데이터 마스터, 픽셀 데이터 마스터)는 이러한 킥의 작업을 여러 개의 복제된 셰이더 코어로 분산할 수 있습니다."
"예를 들어 통신 패브릭을 통해"라고 설명합니다.
그래픽 카드는 컴퓨터 내부 또는 외부의 PCI-E 슬롯에 지나지 않는 "kickslot"이라고 부르는 공간을 차지할 수 있습니다.
이 슬롯은 두 개 이상 있을 수 있으며, macOS는 이 슬롯 사이를 전환합니다.
# GPU 간 전환
이러한 그래픽 카드 사이를 전환하려면 카드와 kick 세트를 제어하는 NVidia의 이전 SLI(Scalable Link Interface)와 유사한 기술이 필요합니다.
Apple의 새로운 특허 출원에는 "그래픽 프로세서를 위한 Kickslot 관리자 회로"라는 특허가 포함되어 있으며, 이는 동일한 결과를 달성하기 위한 일환입니다.
"슬롯 관리자 회로는 추적 슬롯 회로의 항목을 사용하여 일련의 그래픽 작업에 대한 소프트웨어 지정 정보를 저장할 수 있습니다."라고 Apple은 말합니다.
"슬롯 관리자 회로는 그래픽 작업 세트에 대한 셰이더 코어 리소스를 할당하기 전에 해당 위치에서 그래픽 작업 세트에 대한 구성 레지스터 데이터를 미리 가져올 수 있습니다."

따라서 두 개 이상의 GPU 카드가 함께 작동할 수 있지만 이를 위해서는 스케줄링이 필요합니다.
Apple의 세 번째 신규 특허 출원은 "선호도 기반 그래픽 스케줄링"입니다.
"분배 회로는 소프트웨어로 지정된 그래픽 작업 세트를 수신할 수 있습니다."
그리고 "그래픽 작업 세트의 일부를 그래픽 프로세서 하위 장치 그룹에 소프트웨어로 표시된 매핑을 할 수 있습니다."라고 Apple은 이 출원서에서 말합니다.
"이는 일부 실시예에서, 동일한 메모리 영역에 액세스하는 그래픽 작업을 캐시를 공유하는 동일한 하위 장치 그룹에 할당할 수 있게 함으로써 캐시 효율성을 향상시킬 수 있습니다."라고 Apple은 설명합니다.
# GPU에서 데이터 가져오기
따라서 Apple의 특허 출원은 두 개 이상의 그래픽 카드를 물리적으로 지원한 다음 특정 작업에 가장 적합한 그래픽 카드를 결정하는 방법을 다룹니다.
그런 다음 특허 출원에서는 사용 가능한 GPU에 작업을 분할하는 방법을 설명합니다.
GPU에서 데이터를 다시 가져오는 것은 "논리 슬롯을 지원하는 그래픽 하드웨어를 위한 소프트웨어 제어 기술"이라는 보다 일반적인 특허 출원을 통해 이루어집니다.
이 특허 출원에는 "제어 회로가 다양한 그래픽 작업 세트를 위해 논리 슬롯과 분산 하드웨어 슬롯 간의 매핑을 결정할 수 있는 방법"에 대한 설명이 포함되어 있습니다.
"다양한 매핑 측면이 소프트웨어로 제어될 수 있습니다."라고 설명되어 있습니다.
"예를 들어, 소프트웨어는 그래픽 작업 세트에 대한 우선순위 정보, 작업 완료 후 매핑 유지, 배포 규칙, 하위 유닛의 대상 그룹, 하위 유닛 마스크, 스케줄링 정책, 다른 논리 슬롯에서 하드웨어 슬롯 회수 등 다음 중 하나 이상을 지정할 수 있습니다."

여러 개의 그래픽 카드를 사용하고자 하는 욕구로 인해 제기된 모든 문제는 적어도 Apple에서 조사된 것으로 보입니다.
따라서 Apple이 Apple Silicon에 다중 GPU 지원을 추가하는 Mac을 만들지 여부와 시기에 대한 분명한 의문이 남습니다.
# Mac에서 여러 개의 그래픽 카드를 볼 수 있는 경우
Apple은 지속적으로 특허를 출원하고 있으며, 특허가 승인되더라도 곧바로 제품으로 이어진다는 보장은 없습니다.
또한 특허는 애플이 사용하기까지 몇 년이 걸릴 수도 있습니다.
따라서 모든 증거에도 불구하고 Apple이 Mac에서 다중 GPU를 지원한다는 보장은 없으며, 특히 곧 출시될 것으로 예상되는 차기 Mac Pro가 그렇게 될 것이라고 단정할 수는 없습니다.
그러나 의도는 분명 존재하며, 서로 관련이 없는 특허가 우연하게 동시에 출원된 것은 아닙니다.
예를 들어 특허 4건 중 3건은 Andrew M. Havlir가 발명자로 이름을 올렸고, 3건은 Steven Fishwick의 이름을 올렸습니다.
*** 자동 번역본으로 오역과 의역이 있을 수 있으며, 자세한 내용은 출처의 원문을 확인하시길 바랍니다.
| 아이폰 15 프로 스페셜 에디션 다크 레드 색상 먼저 살펴보기 (0) | 2023.02.25 |
|---|---|
| [루머] 아이폰 15 기본 모델 전면 사진 (0) | 2023.02.23 |
| 아이폰 15 프로 CAD : 더 얇은 베젤, USB-C, 곡선형 엣지 (0) | 2023.02.18 |
| 미디어텍, 4nm 공정의 첫 중급형 프로세서 디멘시티 7200 발표 (0) | 2023.02.17 |
| [루머] 15인치 맥북 에어에 M2 칩이 탑재될 것으로 알려짐 (0) | 2023.02.15 |